开式搪瓷反应釜
发布时间:2019-05-08
搪瓷反应釜是将含有高二氧化硅的搪瓷釉料喷涂在钢制容器内表面,经高温灼烧工艺而牢固地密着于金属表面上成为复合材料制品,罐盖与罐体可以分开的搪瓷反应釜,之间放密封垫片后通过卡子一周固定。使用方便,易于维护维修

一、搪瓷反应釜是将含有高二氧化硅的搪瓷釉料喷涂在钢制容器内表面,经高温灼烧工艺而牢固地密着于金属表面上成为复合材料制品,罐盖与罐体可以分开的搪瓷反应釜,之间放密封垫片后通过卡子一周固定。使用方便,易于维护维修。具有玻璃的稳定性和金属强度的双重优点,是一种优良的耐腐蚀化工设备,具有耐腐蚀、抗冲击、光滑美观、绝缘耐热、耐磨等可靠性能。搪瓷反应釜目前被广泛地应用于化工、石油、医药、农药、食品、染料等工业生产过程,是水解、中和、结晶、混合、乳化等理想的设备。我公司开式搪瓷反应釜(搪瓷反应罐)规格齐全,也可根据用户需求生产制造非标开式搪瓷反应釜。
二、1、设计压力:罐体≤0.2MPa 0.4MPa 0.6MPa 1.0MPa 夹套≤0.6MPa
2、搅 拌 器:参照搪玻璃搅拌器参数(/)
3、减 速 机:立式摆线减速机、涡轮蜗杆减速机、斜齿轮减速机等
4、轴 封:填料密封 ( 0.2MPa ) 单端面机械密封 (0.4MPa)
双端面机械密封 (0.6MPa 1.0MPa)
5、罐体设计压力超过0.6MPa的搪玻璃反应釜需特殊定货
耐腐蚀性:对于各种浓度的无机酸、有机酸、有机溶剂及弱碱等介质均有极强的抗腐性。但对于强碱、氢氟酸及含氟离子介质以及温度大于180℃,浓度大于30%的磷酸等不适用。
耐冲击性:耐机械冲击指标为220-10-3J,使用时避免硬物冲击。
绝缘性 :瓷面经过20KV高电压试验的严格检验。
耐温性 :耐温急变,冷冲击110℃,热冲击120℃。
三、订货选型
设计压力(MPa):容器内:0.25、0.4、0.6、1.0
夹套内:0.6
介质温度(℃):材质为Q235时为0~200;
材质为20R时为-20~200;
搅拌器形式:锚、框、浆、叶轮式及多种非标搅拌形式可供选择
传动装置机型:I、II、III型
搅拌轴密封形式:填料箱适用于0MPa≤PN≤0.1MPa;
机械密封适用于PN≤1.0MPa
制作形式:耳式、支承式;
放料阀形式:上展式、下展式:
注:当订购设备的公称容积(L)、设计压力、或公称直径(DN),或管口数量、尺寸或管口方位与样本所列不相符合时为非标设备,在合同中应加以说明。

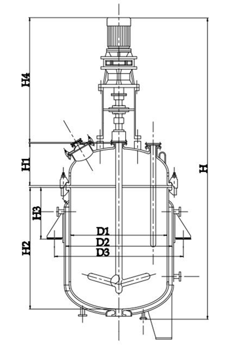
罐体尺寸图